Introduction
This month, we're cracking the case of the Withings Body Cardio, one of the most advanced consumer body composition weighing scales on the market today.
Please checkout the full post on:
Tools
-
-
Opening up the scale was not an easy task – there was a lot of double-sided tape involved.
-
The back of the scale is fastened with four Torx screws – easy enough. The entire backplate, however, is glued to the front with double-sided adhesive cushions. Removing it simply involved pulling it firmly enough to break the adhesive, but not so hard as to break the connectors. A hairdryer can help loosen the adhesive under the 4 corners.
-
With the backplate removed, you can immediately spot 4 loads cells, one in each corner.
-
-
-
ARM MCU - MK22FN1M0VLL12 (NXP)
-
weighing scale and body composition front-end IC - AFE4300 (Texas Instruments)
-
battery charging IC (including battery protection) - BQ24095 (Texas Instruments)
-
WiFi and Bluetooth radio - BCM43438 (Broadcom)
-
flash memory - MX25L3233F (Macronix)
-
op-amp - AD8544
-
connector to the USB port PCB
-
-
-
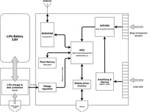
I’ve made an attempt to design a block diagram for the whole setup. This won’t be 100% accurate as I don’t know all the details but it will give you an idea on how the components are interlinked and work together.
-
41 comments
Thanks for sharing your experience, wouldn’t guess the double sided tape trick without your help.
Soon my scale will be deactivated by Nokia and was wondering what I can do with it.
ALMO -
Hi please tell me what are battery dimensions. I need to order one - cause mine is already dead.
Michal -
Hi, I never took note of the dimensions, it’s best you open up the scale yourself to check it out.
Since the battery is dead you’ll have to do it anyways ;)
Thanks for the breakdown info. I'm replacing the battery as well. It's 63x50x5mm. 2100 mAh, 7.98Wh, 3.8V
I think this battery should be exactly the same:
Samsung 2100 mAh Replacement Battery for Samsung Galaxy Avant SM-G386T https://www.amazon.com/dp/B00OY9BY6W/ref...
Hi,
my battery died as well. Was the Samsung battery the correct replacement?
With best regards
MArtin